RESEARCH
Peer reviewed scientific video journal
Video encyclopedia of advanced research methods
Visualizing science through experiment videos
EDUCATION
Video textbooks for undergraduate courses
Visual demonstrations of key scientific experiments
BUSINESS
Video textbooks for business education
OTHERS
Interactive video based quizzes for formative assessments
Products
RESEARCH
JoVE Journal
Peer reviewed scientific video journal
JoVE Encyclopedia of Experiments
Video encyclopedia of advanced research methods
EDUCATION
JoVE Core
Video textbooks for undergraduates
JoVE Science Education
Visual demonstrations of key scientific experiments
JoVE Lab Manual
Videos of experiments for undergraduate lab courses
BUSINESS
JoVE Business
Video textbooks for business education
Solutions
Language
zh_CN
Menu
Menu
Menu
Menu
A subscription to JoVE is required to view this content. Sign in or start your free trial.
Research Article
Please note that some of the translations on this page are AI generated. Click here for the English version.
Erratum Notice
Important: There has been an erratum issued for this article. View Erratum Notice
Retraction Notice
The article Assisted Selection of Biomarkers by Linear Discriminant Analysis Effect Size (LEfSe) in Microbiome Data (10.3791/61715) has been retracted by the journal upon the authors' request due to a conflict regarding the data and methodology. View Retraction Notice
资料来源:Zhilyakov, N. V. 等人,使用共聚焦显微镜以高时间分辨率注册小鼠神经肌肉接头中的钙瞬变。J. Vis. Exp.(2021年)
该视频演示了使用共聚焦显微镜记录神经末梢快速钙瞬变的成像技术。通过刺激神经并捕获钙结合染料的荧光变化,它可以可视化神经末梢的动态钙流入和清除,从而提供对突触活动和神经肌肉信号传导的精确洞察。
所有涉及动物样本的程序都经过适当的动物伦理审查委员会的审查和批准。
对来自小鼠BALB/C(20-23 g,2-3个月大)的耳提肌(m. LAL)的分离神经肌肉制剂进行了实验。
1. 林格氏液和锉刀液的制备
2. 染料加载程序
注意:染料加载程序是根据通过神经残端加载的方案执行的,该方案改编自先前发布的方案。
3.用共聚焦显微镜拍摄视频注意
:钙瞬变的配准是用激光扫描共聚焦显微镜(LSCM)进行的(参见 材料表)。为了记录快速钙瞬变,使用了一种原始协议,允许以足够的空间和时间分辨率记录信号。显微镜配备了 20 倍水浸物镜(1.00 数值孔径 (NA))。将488 nm激光线衰减至10%强度,并收集503至558 nm的发射荧光。
按实时模式按钮切换到实时模式,这有助于预览装有染料的神经末梢。

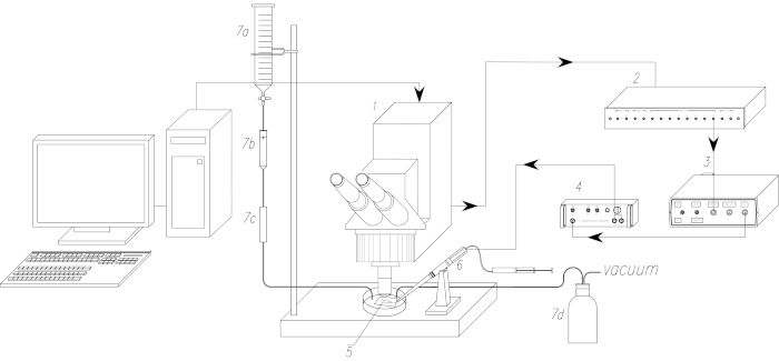
图 1:实验设置的示意图。 1.激光扫描共聚焦显微镜(LSCM)。2、LSCM(触发盒)同步模块。3. 刺激器。4、隔离单元。5. 生物样品。6.用于神经电刺激的抽吸电极。7. 灌注系统(7a:灌注液储液器,7b:滴管,7c:流量调节器,7d:保温瓶)。箭头指向同步脉冲的传播方向。
| 毛细管玻璃 | Clark Electromedical instruments,英国 | GC150-10 | |
| 共聚焦和多光子显微镜系统 Leica TCS SP5 MP | Leica Microsystems,海德堡,德国 | ||
| 火焰/棕色微量移液器拉拔器 P 97 | Sutter 仪器,美国 | P-97 | |
| 流量调节器 | KD Medical GmbH Hospital Products,德国 | KD REG | 带流量调节器的一次性输液器 |
| HEPES | Sigma-Aldrich,美国 | H0887 | 100mL |
| 照明系统 徕卡 CLS 150X | 徕卡微系统,德国 | ||
| 带吸力的磁性支架管材 | BIOSCIENCE TOOLS,USA | MTH-S | |
| Microspin FV 2400 | Biosan,拉脱维亚 | BS-010201-AAA | |
| Minutien Pins | 精密科学工具,加拿大 | 26002-20 | |
| Multi-spin MSC 3000 | Biosan,拉脱维亚 | BS-010205-AAN | |
| 俄勒冈州绿色 488 BAPTA-1 五钾盐 | 分子探针,美国 | O6806 | 500 微克 |
| 移液器 | Biohit,俄罗斯 | 720210 | 0.5-10 μL |
| 移液器吸头 | Biohit,俄罗斯 | 781349 | 10 μL |
| 橡皮泥 | 当地生产商 | ||
| 一次性皮下注射针头 | Bbraun | 100 Sterican | 0.4×40 mm |
| 电子表格程序 | Microsoft,美国 | Microsoft Office Excel | |
| 立体显微镜,徕卡 M80 | 徕卡显微系统,德国 | ||
| 抽吸电极 | http://research-journal.org/biology/prostoj-vsasyvayushhij-elektrod-dlya-elektricheskoj-stimulyacii-biologicheskix-obektov/ | ||
| Sylgard 184 弹性体 | 美国道康宁 | ||
| 器 | 本地生产商 | 0.5 mL | |
| 注射器 | 本地生产商 | 60 mL |